
据安徽阜阳经济开发区投资促进局消息,5月23日,安徽世豪新能源科技有限公司年产2GWh锂离子动力及储能电池项目开工仪式举行。
据悉,本次开工的年产2GWh锂离子动力及储能电池项目,总投资3亿元,计划分两期建设,其中一期项目投资1.5亿元,建设年产1GWh锂离子动力电池生产线,预计2024年底建成投产。
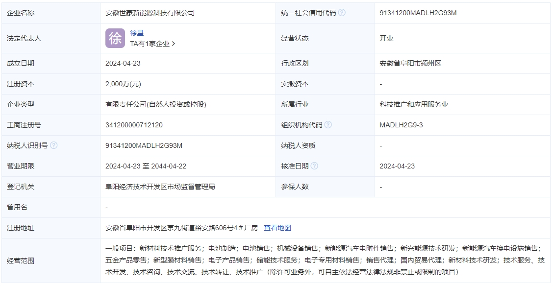
资料显示,安徽世豪新能源科技有限公司是一家今年4月新成立的公司,公司专注于新能源锂离子动力电池及储能电池的研发、生产和销售的企业。
免责声明:本文仅代表作者个人观点,与中关村新型电池技术创新联盟无关。其原创性以及文中陈述文字和内容未经本网证实,对本文以及其中全部或者部分内容、文字的真实性、完整性、及时性本站不作任何保证或承诺,请读者仅作参考,并请自行核实相关内容。
凡本网注明 “来源:XXX(非中关村新型电池技术创新联盟)”的作品,均转载自其它媒体,转载目的在于传递更多信息,并不代表本网赞同其观点和对其真实性负责。
如因作品内容、版权和其它问题需要同本网联系的,请在一周内进行,以便我们及时处理。电话:010-62899890 邮箱:119@battery100.org
06-24 来源:电池百人会-电池网
03-04 来源:电池百人会-电池网
07-20 来源:电池百人会-电池网
08-22 来源:电池百人会-电池网
06-21 来源:信息时报