
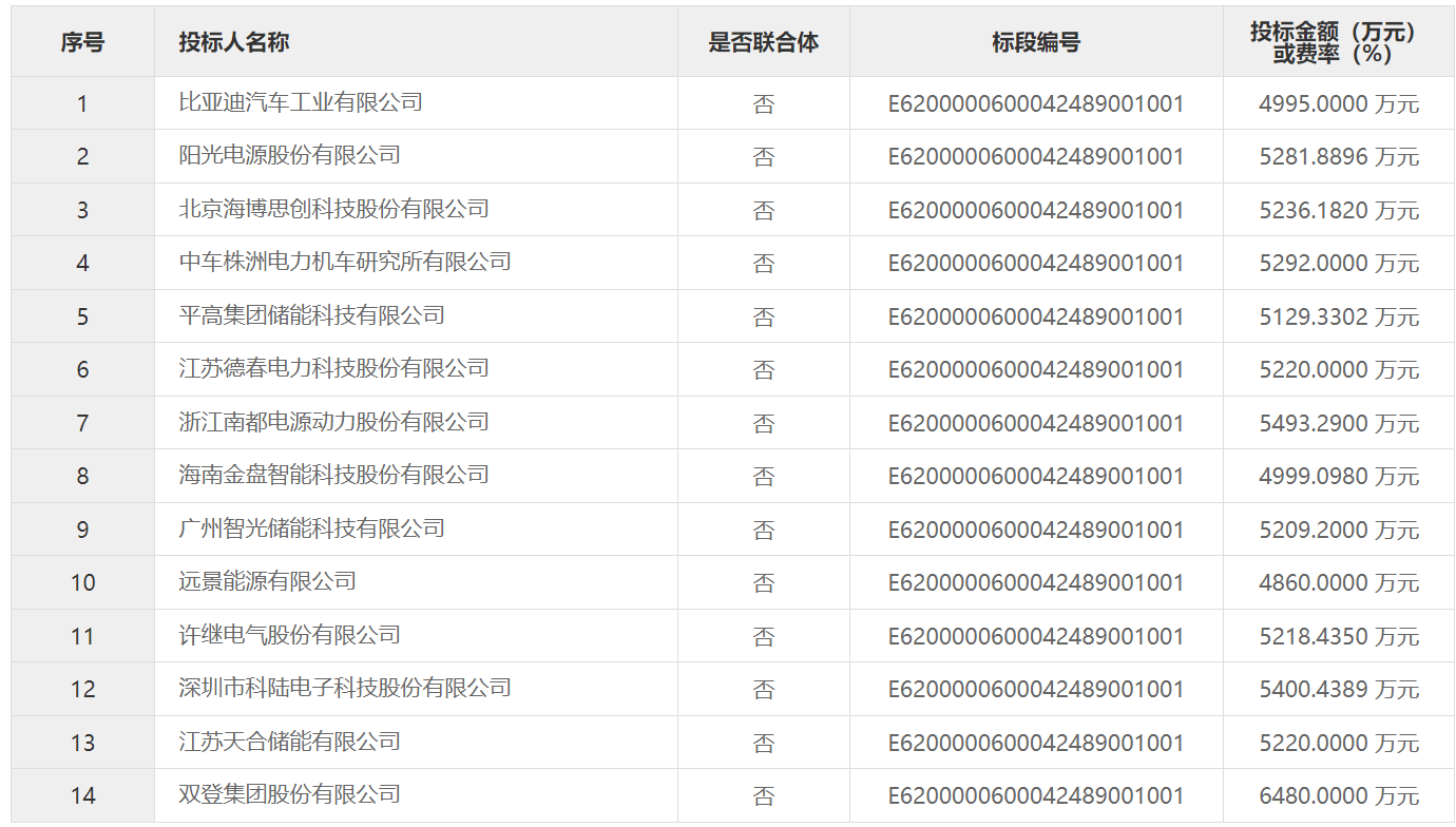
来自甘肃省公共资源交易平台的信息显示,近日,敦煌市沙州能源光伏发电有限责任公司260兆瓦光伏发电项目二期150兆瓦光伏发电配套储能项目(敦煌120MW/480MWh共享储能电站一期项目)储能系统设备采购项目(22.5MW/90MWh)中标候选人公示。
第一中标候选人为阳光电源股份有限公司,中标价格为5281.8896万元,单价约为0.587元/Wh。
第二中标候选人为浙江南都电源动力股份有限公司,中标价格为5493.29万元,单价约为0.610元/Wh。
第三中标候选人为远景能源有限公司,中标价格为4860万元,单价约为0.54元/Wh。

开标信息显示,该项目位于甘肃省敦煌市光电产业园区内,采购规模为储能系统设备22.5MW/90MWh,共吸引14家储能集成商企业参与投标,投标单价区间为0.54~0.72元/Wh,平均报价为0.5876元/Wh。
免责声明:本文仅代表作者个人观点,与中关村新型电池技术创新联盟无关。其原创性以及文中陈述文字和内容未经本网证实,对本文以及其中全部或者部分内容、文字的真实性、完整性、及时性本站不作任何保证或承诺,请读者仅作参考,并请自行核实相关内容。
凡本网注明 “来源:XXX(非中关村新型电池技术创新联盟)”的作品,均转载自其它媒体,转载目的在于传递更多信息,并不代表本网赞同其观点和对其真实性负责。
如因作品内容、版权和其它问题需要同本网联系的,请在一周内进行,以便我们及时处理。电话:010-62899890 邮箱:119@battery100.org
03-17 来源:电池网-EVTank
11-08 来源:电池百人会-电池网
10-19 来源:电池网-EVTank
03-07 来源:生意社
10-27 来源:电池百人会-电池网